Таль ручная шестеренная цепная ТРШСп-0.5/3
757 BYN
Наличие уточняйте
-
+
В корзину
Обращаем Ваше внимание на то, что приведенные цены, характеристики и фотографии товаров носят исключительно ознакомительный характер и не являются публичной офертой, определяемой положениями ст. 405 Гражданского кодекса Республики Беларусь.
Описание
Таль ручная стационарная шестеренная с поворотным кожухом тяговой цепи ТРШСп предназначена для подъёма, удержания в поднятом положении и опускания груза, а также для его перемещения по горизонтальной или наклонной плоскости, в режиме 1М по ГОСТ 25835.
Поворотный кожух на управляющей цепи является важным преимуществом талей ТРШСп, так как повышает безопасность и удобство работы оператора тали - работать с талью можно находясь в стороне от поднимаемого груза.
Тали стационарные шестеренные ТРШCп изготавливаются также во взрывобезопасном и/или пожаробезопасном исполнениях.
Характеристики
|
Грузоподъемность, кг
|
500 |
|
Высота подъема, м
|
3 |
|
Тяговое усилие, кг
|
15 |
|
Тип тали
|
цепная, шестеренная |
|
Тип привода
|
ручной |
|
Каретка перемещения
|
нет |
|
Взрывозащищенное исполнение
|
опция |
|
Кратность полиспаста
|
1/1 |
|
Грузовая цепь
|
Ø 6 × 18 |
|
Тяговая цепь
|
Ø 5 x 26 |
|
Строительная высота, мм
|
315.0000 |
|
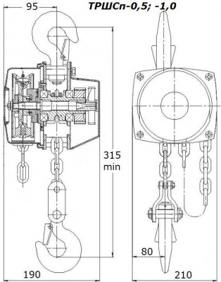
Габаритные размеры, мм
|
см. схему |
- таль (1шт)
- подвеска нижняя (1шт)
- грузовая цепь (1шт)
- тяговая цепь (1шт)
- тара
- паспорт на таль (1шт).



