Вертикально-сверлильный станок JDP-17LT
JDP-17LT вертикально-сверлильный станок, промышленной серии, напольного исполнения, с подключением к сети в 400 вольт. Благодаря высокому качеству исполнения деталей и механизмов, станок отличается хорошими показателями точности и долговечности и может применятся для серийного изготовления деталей.
Станок имеет устойчивое чугунное основание размером 545 x 330, с параллельно-расположенными пазами с шириной 21мм, для закрепления заготовок струбцинами или другими зажимными приспособлениями.
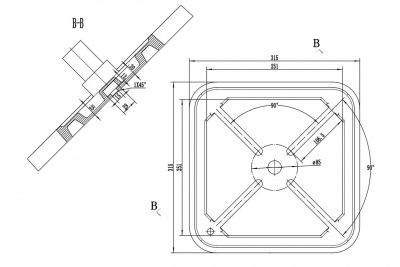
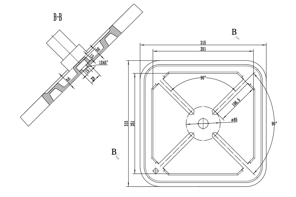
На основание установлена колонна диаметром 80мм с зубчатой рейкой для возможности перемещения стола по вертикали. Рабочий стол, как и основание, изготовлен из качественного чугуна, его размер 315х315мм с 4-мя Т-образными пазами, расположенными крест-накрест, ширина пазов 15мм. Максимальное расстояние между шпинделем и основанием составляет 1220мм, а расстояние между шпинделем и рабочим столом – 720мм.
Стол имеет возможность поворота вокруг своей оси и вокруг колонны на 360°. Наклона стола вправо/влево в пределах ±45°.
Сверлильная головка позволяет сверлить максимальные диаметры отверстия до 16мм. Конус шпинделя МК-2.
Выходная мощность приводного двигателя составляет 750Вт.
Вращающий момент с двигателя на вал шпинделя передается с помощью клинового ремня через шкивную группу. Диапазон частоты вращения шпинделя осуществляется в пределах от 180 до 3000 об/мин и имеет 16 скоростей. На передней панели расположен переключатель для включения реверса.
Ход пиноли шпинделя составляет 80 мм. Для контроля глубины сверления предусмотрена шкала на лимбе с миллиметровой разметкой, а также стопорный зажимной винт для ограничения хода пиноли.
В целях обеспечения безопасной работы, на станке установлен прозрачный защитный экран с концевым выключателем. Под кожухом коробки скоростей ременной передачи находится защитный концевой датчик, который не позволит включить станок при открытой крышке. Для аварийной остановки, на передней панели станка расположен красный аварийный выключатель грибкового типа. Включение шпинделя осуществляется нажатием на зеленую кнопку, для остановки вращения предусмотрена красная кнопка.
Станок оснащен лампой местного освещения с гибким держателем, который обеспечит удобное размещение и направление света в зону резания.
Стандартная комплектация включает в себя быстрозажимной сверлильный патрон 1-16мм/В16, защитный экран, лампу местного освещения и инструкцию по эксплуатации.
|
Макс. Ø сверления (сталь), мм
|
16 |
|
Размеры раб. поверхности стола, мм
|
315x315 |
|
Диапазон скоростей шпинделя, об/мин
|
180 - 3000 |
|
Потребляемая мощность, кВт
|
1,1 |
|
Масса, кг
|
77 |
- Быстрозажимной сверлильный патрон 1-16мм/В16
- Защитный экран
- Лампа местного освещения
- Руководство по эксплуатации





